- Home
- About
-
TESTIMONIALS
"...produced top-quality provisional applications that provided a very solid foundation for international patent filings by fully discussing how to make and use an invention and all useful variations... [the client] said that he had been very pleased with the provisionals." Michael Roman - Patent Lawyer/Associate Counsel - Clark Wilson LLP
[-Prepared/referred 5 provisionals: incl. award winning Sidestix (x2), Variablegrid, Headset Visor & CandleSnap-]
"He has an excellent grasp of what detail and elements are to be shown to fit with the textual disclosures in a patent application...fine skills as a technical writer are also apparent to me and would benefit enterpreneurs who would pursue their various IP rights." Paul D. Gornall – Lawyer/Patent Agent - ELC Law Corp.
[-Prepared 26 draft patent specifications with drawings & performed relevant prior art searches as needed-]
"We have worked with Brian for 14 years on a number of projects. He understands the process & quickly grasps what we are trying to achieve. He has done a number of searches & provisional patent applications, some of which we pursue to full patent & some are dropped for commercial reasons. I have no issue recommending him. Smart, quick, honest & far cheaper than a patent lawyer." Chris Blundell PEng. – President/Founder - Compact Compression
[-Prepared & filed 6 provisional applications & performed 12 prior art searches to date-]
"...I am extremely impressed with your reams of work...I especially appreciate the numerous comparisons you made between the 2cane and the other iterations and in doing so, pointing out the differences and their deficiencies. Brian, I know David [innovation consultant] has also reviewed your work and he whole heartedly approves as well!!" Marco Longley - Award Winning Inventor - Heft/2Canes
[-Searched, Prepared & Filed provisionals for The Heft & 2Canes - Both on Dragons Den-]
"...showed a solid work ethic & professionalism, ‘particularly impressed by his ability to assemble and articulate the details, provided a fresh perspective and language’." Graham Truax - President - iFind Media Systems
[-Wrote detailed Invention Report for a startup seeking to fund interactive mall navigation displays-]
"The result was genuinely remarkable – despite my prior belief that this straightforward innovation must have been thought of at some point...Brian reassured me of the viability of proceeding with the patenting process for this distinctive creation. Subsequently, he meticulously formulated the patent specifics. Armed with this information, I engaged a legal professional...[3 years later], I was awarded the patent for CandleSnaps.’." R. Billy - Inventor - First Nation Innovation Corp
[-Performed patent search, Prepared & Filed provisional application for fire safety device-]
"We have no reservations recommending him ‘as a technical writer’." Assoc. Dean - BCIT Aerospace Campus
[- Wrote policy, procedure & emergency response manuals for aircraft maintenance engineering school-]
"...has an eye for detail, a clear and logical mind and an excellent work ethic."18th Annual Vancouver Fringe Festival.
[- Edited program book & website for fine arts festival-]
Click the link below for a pdf of more client & practitioner recommendations from LinkedIn:

-
SAMPLES
(Note: This dropdown table is best viewed using a full sized desktop/tablet screen at present.)
Figure Provisional* Filing Patent Comment 
Multi Handled Adaptable Sleeve for Drinking Containers
Filing Receipt #28266174
Application US 20180242764 A1
Example of invention that couldn't find a market, and was eventually abandoned, but at much less expense than if client was only using a lawyer. 
Fire safety closure system for candle holders
Filing Receipt #61413563
Patent(Granted) #US8920157B2 Fire safety closure system for candle holders
Candle Snaps: Award winning Candle Safety Device that prevents candle related fire damage & injury. 
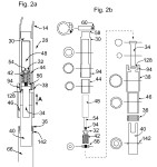
Multiposition Visor Adaptor System
Filing Receipt #6191813
International Patent (pending) # WO 2011038486 A1
Headset Visor System: attachable adjustable pilot's headset that improves instrument/horizon visibility at any orientation towards the Sun. 
Turn Collar Fulcrum Handle System
Filing Receipt #12564462
Patent (granted) # US 8893355 B2
The Heft: Pitched on Dragon's Den, offered CA$25K investment in 2012. Still available at Home Hardware, Home Depot & Amazon. 
Wet Gas Compressor Drive System and Method
Filing Receipt #31857480
CA3034391 Reciprocating Compressor System With Liquid Pumping Capability (title change)
Award winning vapor recovery compression method that minimizes emissions while efficiently extracting liquid rich gas streams. 
Multi-Terrain Damping Ergonomic Forearm Crutch System
Filing forwarded to lawyer due to impending client trip to Africa #61122486
PCT Patent (pending) WO 2010069070 Assistive Mobility Device (title change)
Sidestix: Sarah has won almost all the awards available for her design. Climbed to top of Mt. Kilimanjaro using her ergonomic crutch & snowshoe adaptors. 
Wireless Self-Closing Portable Lock System
Filing Receipt1 #61732499
Filing Receipt2 #61863292
Patent (granted) US9679429B2 Wireless Portable Lock System (title edited)
TEO Smart PadLock: Raised over US$100k on Kickstarter. 2nd provisional included new ideas for patent application. *Note: Not all provisionals can be disclosed because they are not yet in the public domain. However, each filed patent application is substantially based on the written specification and drawings of the original undisclosed provisional application(s).
-
QUALIFICATIONS
20+ years - Inventive Solutions: Affordable Patent & Research Services
(Comprehensive Searches, Intelligible Drawings, Professional Applications)
US Patent Paralegal Certificate Program Graduate 2007 & 2017
10+ years - Technical Documentation: BCIT Aerospace, Bosch (affiliate), iFind Media Systems...
25+ years - Electronics Manufacturing: Douglas Power Eqpt., Alpha Tech., Polar Batteries...
Word, FreeCAD, Photoshop, Illustrator, HTML...
-
BACKGROUND
Electronics, Aerospace, Manufacturing, Marine, Mechanical, Innovation, Medical, Astronomy, Renewables
BC Inventors Society, Vancouver Enterprise Forum, Royal Astronomical Society of Canada, Vancouver Space Society, Vancouver Electric Vehicle Association, BC Science Fiction Assn., 2012 Vancouver Maker Faire participant.
A lifetime asking annoying questions while experimenting, repairing, improving, and inventing.
-
CLIENTS

-
MISSION
Helping innovators secure better infringement protection
-
FEES
Prior Art Searching for Patents & Designs = CA$55/h
Provisional or Design Specifications/ Invention Reports / Documentation = CA$65/h
Patent or Design Drawings / Graphic Design = CA$75/h
Other Services: Editing/Proofreading/Technical Writing = Negotiable
Note: Filing & Search Analytics fees paid by client.
Alternate currencies may be accepted. Please contact for details.
-
DEPOSITS
New Client [Individual]: 10-50%* Cash deposit, followed by payment of remainder upon project completion
New Client [Corporate]: 10-50%* Cash or Check deposit, followed by payment of remainder upon project completion
Repeat Client [Either]: Payment required 15 days from receipt of invoice
-
POLICIES
All objectives outlined in project agreement will be honored.
Any errors or omissions will be corrected ASAP, with no extra charge.
Any client revisions beyond agreement parameters may incur extra charges.
Inventive Solutions deals directly with clients, not headhunters/contractors.
Short duration projects of less than 10 hours may require larger deposit*.
Longer duration projects or project delays may require interim invoicing.
Bank costs incurred in order to receive full payment will be born by client.
All sensitive & proprietary data receives highest security protection available.
-
CONTACT Inventive Solutions
Email: info@inventive-solutions.ca
Phone: Available on request.
Address: Available with N.D.A.
Country: Canada

